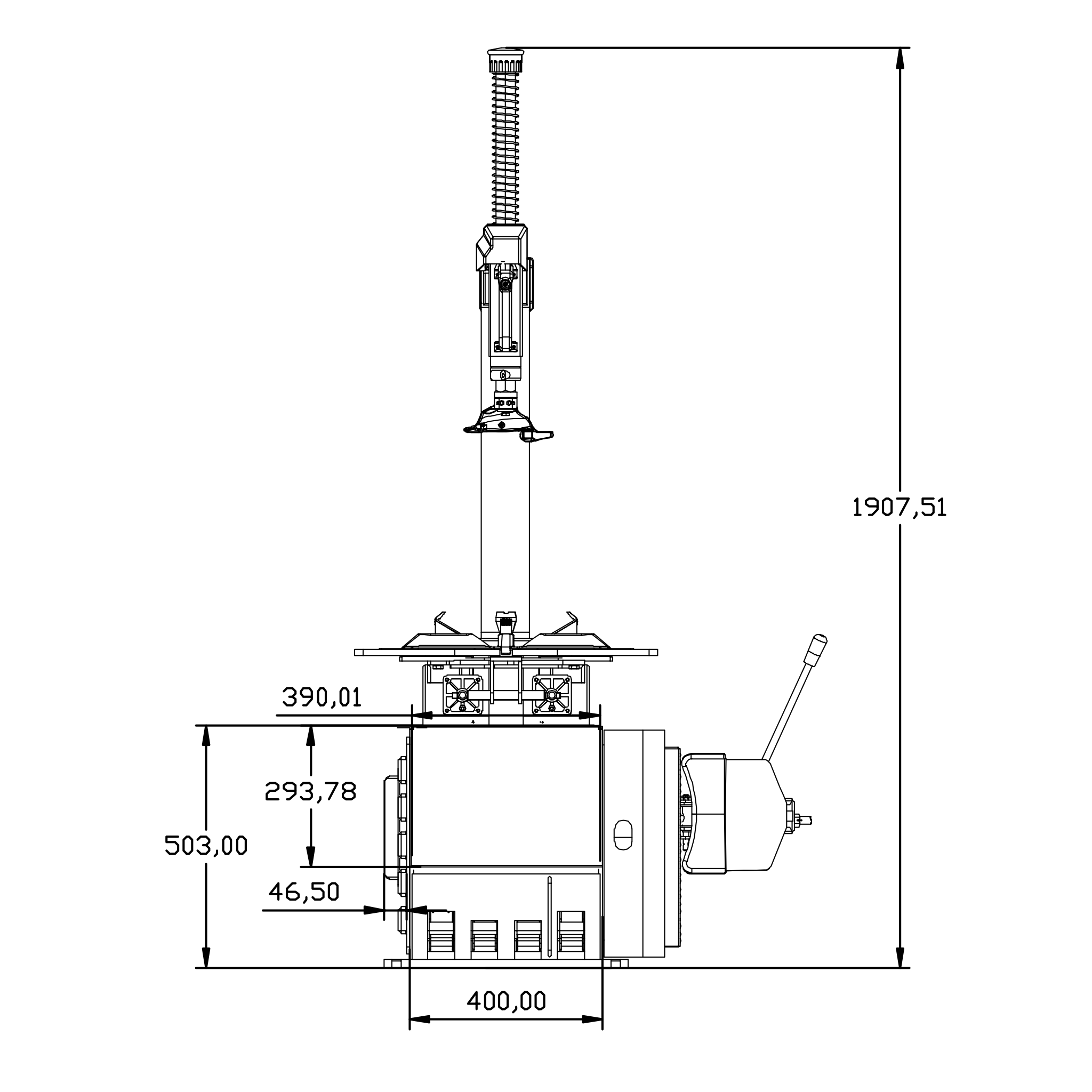
Description
-
Démonte-pneus avec levier d’assistance.
-
Support pour le lubrifiant, réglable en diamètre.
-
Système de 4 dispositifs de centrage automatique avec deux cylindres pneumatiques.
- 9″-26″
- Détalonnage: 2900kg
- 230V ou 380v
- 250kg
ACCESSOIRES INCLUS
- Flacon de lubrifiant de montage
- Brosse
- ensemble de consommables


















